歡迎來到河北樱桃视频在线APP電力設備有限公司官網!
180-3210-8181
187-0321-3993
一、用途
電動給料機可用於火電廠、化工廠、水泥廠、糧食等部門樱桃视频大全免费係統中作鎖氣,均勻定量給料之用。在火電廠主要用於幹式除塵器、省煤器、空氣預熱器灰鬥下作鎖氣及均勻定量給料之用。
二、原理及結構
SG型電動給料機亦稱電動鎖氣器,回轉閥,其工作過程是由帶有若幹葉片的轉子在機殼內旋轉,物料從上部集灰鬥或料倉下落到葉片之間,然後隨葉片轉至下端,將物料排出進行送料。
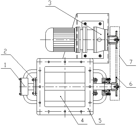
SG型電動給料機結構見附圖:

1. 軸承端蓋 2.填料壓蓋 3.驅動裝置 4.回轉葉輪及主軸
5.殼體 6.鏈輪、鏈條 7.護罩
三、SG-型電動給料機技術性能表:

四、安裝與調試
1. 為避免運行時有雜物卡入外殼與轉子之間,使給料機主要部件或驅動裝置受到損壞,故安裝時應在給料機上方加設清除雜物用的過濾網。
2. 為防止給機結合麵泄漏,產生飛灰、跑灰現象,安裝時應在給料機上下結合麵加設密封層填片,且擰緊上下聯接螺栓。
3. 安裝完畢後,需檢查鏈條緊鬆程度,且利用減速機連接螺栓給予合理調整,(亦可在減速機底腳處加設墊片)。
4. 減速機在試運行前應遵說明書要求加適量齒輪潤滑油.
5. 此設備投運行前檢查葉輪轉動情況,手盤輕巧靈活後才允許接通電源進行空負載運行,並檢查各運轉部件之運行情況及軸承溫升,正常後進入帶負載試運行,試運行時間不得少於72小時。
6. 合理調整填料箱壓蓋螺栓鬆緊,以防止飛灰、跑灰或軸負截過大。
五、維護與使用
1、 此設備兩軸承處油杯應每班加黃油一次。
2、 擺線針輪減速機應遵說明書要求進行定期加油。
3、 應定期用油漆刷子將潤滑劑加在鏈條和鏈環之間(潤滑劑可用40#機油)及更換潤滑油。
4、 在進行給料機內部零件的檢查拆裝工作前,應使設備與機械傳動部分和電氣部份脫開。
5、 在檢修給料機內部零件時,應擰掉端蓋上聯接螺栓,利用兩端蓋上的裝拆螺孔進行裝卸,以免損壞機件。
6、 每次拆開轉子檢修,重新裝配時應注意轉子葉輪與兩端麵蓋間的間隙,用兩端蓋上的裝拆螺孔內擰入螺釘,調整至合理位置(保證軸向間隙0.25mm~0.5mm),然後在兩端蓋法蘭間加入密封調整墊片,擰緊聯接螺栓。