歡迎來到河北樱桃视频在线APP電力設備有限公司官網!
180-3210-8181
187-0321-3993
一、管路設計基本要求:
1. 彎頭的平均數量不要超過每20m一個。 因此管道若是400m,彎頭的最多數量是20個。
2. 彎頭間的合適距離應當是10倍的輸送管道直徑;最小距離是2m。
3. 管徑為200mm以內的管道,管路膨脹節應安裝於彎頭2m以外。
4. 管徑為250~350mm的管道,管路膨脹節應安裝於彎頭3m以外。
5. 管路膨脹節應用於任何型號的卸料閥、切換閥或終端箱前大於3m之處。
6. 管道提升應該用垂直管來實現 ,10°~70°的角度爬升應當避免。
7. 對於AV泵、MD泵係統,管道盡可能在離設備出口近的地方垂直爬升,對於D泵係統,管道則需要在設備出口水平延伸5m 後爬升或轉彎。
8. 垂直爬升的數量應盡可能減至最小值。
9. 濃相輸送管路應避免管道下降。
10. TD泵輸送管道變徑點位於管道末端30-50m範圍內。
11. 輸送管道彎頭采用耐磨彎頭,轉彎半徑不小於5倍管道直徑,與管道連接時采用法蘭連接,其中心線偏差不得超過1.5mm。
12. 任何係統原始數據的變化(尤其是輸送距離)請通知河北樱桃视频在线APP電力設備有限公司,以便進行係統校核。
13. 管道直徑標準尺寸:

14. D泵輸送管道尺寸

15. SCM泵安裝注意事項
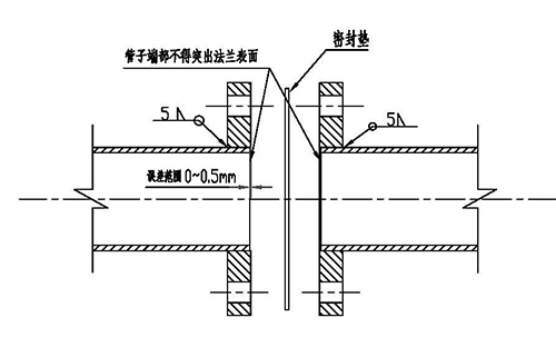
1、主泵與出口泵之間管道直線度不超過1.5mm。管道與法蘭焊接、管道與管道對焊要求見下圖。

2、排氣管應與水平線之間大於60°上升,與灰鬥接口應高於灰鬥高料位,但低於電除塵器要求的安全距離。

3、出口泵的手動(或氣動)排堵管應大於60度上升,與灰鬥接口應高於灰鬥高料位,但低於電除塵器要求的安全距離。
同上圖。
4、排堵閥距離輸送管道的中心線的距離小於800mm。
5、泵間流化管道的安裝要與標記方向相符,內套管在外管的頂部。
6、所有設備安裝後,(單個電場)做係統壓力實驗。在密封壓力0.5MPa時,將壓力為0.5MPa的壓縮空氣充入到管道內做氣密試驗,壓降在30分鍾內小於0.1MPa,用肥皂水檢查泄露點,保證管道無泄露點。
7、管道上套筒膨脹節安裝結束後,將螺栓重新對角、均勻緊固並保證密封。
8、要保證(泵體入口閥上方的)柔性接頭的固定兩短節之間的安裝間隙為25-30mm。
9、大小頭(方圓節)法蘭的連接要保證密封,必要時可以在法蘭墊上塗少量的潤滑油脂。
10、儀用空氣供氣管道應由下而上與控製箱連接。氣控箱與支路之間的距離小於2米,並使用1/2”(或3/4”)的管路與氣控箱的進氣球閥連接。氣控箱的進氣球閥應具有如下功能:在關閉時將進入各個閥門內空氣排空的功能。
11、管路與氣控箱入口閥連接需要使用活接頭(油任)。
12、控製電纜接線前,請仔細核對圖紙,避免返工。
13、輸送管路上的壓力變送器和壓力開關在調試前需要重新校驗。